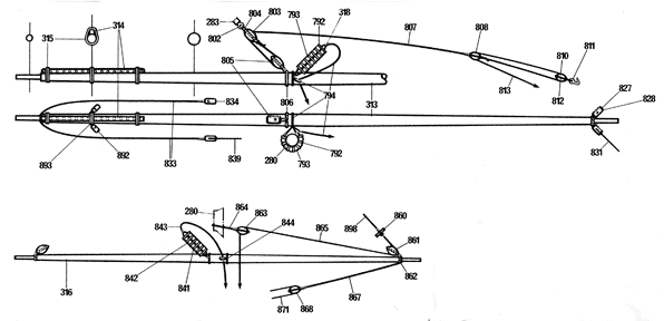
Kreuzrah
Bauplan Kreuzrah (unten) und Kreuzrute (oben)
Die Kreuzrah ist die erste Rah am Kreuzmast, am Kreuzmast ist auch mit einer Kreuzrute (Lateinersegel) versehen.
Zeitraum Januar bis Februar 2015
Die Kreuzrute (Lateinersegel, Segel an römischen Segelschiffen) bestehet aus einem Raminorund 6 mm Ø welches mit einem Rack beweglich an den Kreuz-Untermast angebracht wird.
Kreuzrute mit Dirkverbindung (Jan. 2015)
Kreuzrute (Jan. 2015)
Die Kreuzrah bestehet aus einem Raminorund 4 mm Ø welches mit einem Rack beweglich an den Kreuz-Untermast angebracht wird.
Kreuzrah (Feb. 2015)
Kreuzmast mit Rah und Rute (Feb. 2015)



