
H.M.S Victory
Aufstellort
Bausatz
Werkzeuge
Farben
Vorbereitung
Rumpfbau
Masten und Mastfarben
Rahen und Bäume
Untere Fock-Leesegelspiere
Untere Haupt-Leesegelspiere
Blinderah
Obere Blinderah
Fockrah
Fockmarsrah
Fockbramrah
Großrah
Großmarsrah
Großbramrah
Besanrah
Besanmarsrah
Besanbramrah
Besangaffel
Besanbaum
Flaggenstock
Masten- und Rahblöcke
Einsetzen der Masten
Marsrelinge und Laternen
Das stehende Gut
Das Laufende Gut
BegriffeGroßmarsrah
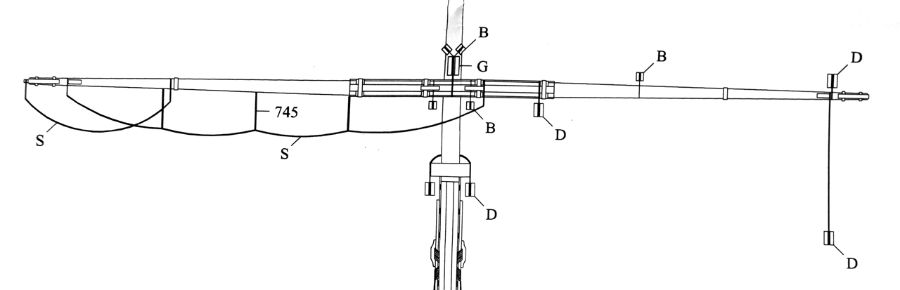
Stelle die Großmarsrah / Leesegelspiere (Fore topmast yard / Fore topgallant stunsail boom) gemäß Planblatt 7 und den angegebenen Maßen her. Die Anordnung der Blöcke und Ösen können aus Planblatt 9 entnommen werden.
Abbildung 519: Großmarsrah - Planblatt 7
Abbildung 520: Großmarsrah Rohzustand (09.05.2025)
Abbildung 521: Großmarsah mit Leesegelspiere (09.05.2025)
Die mittleren achteckigen Abschnitte der Grossrah werden aus 4 Stück Walnuss von 0,5 x 3 mm konstruiert, die am Dübel befestigt werden und die Distanzstücke sind auch aus 0,5 x 3 mm Walnuss.
Abbildung 522: Großmarsrah mit Blöcke (09.05.2025)
Abbildung 523: Großmarsrah mit Blöcke (09.05.2025)
Hinweis: Die Halteklampen nur hinten an den Marsrahen dienen auch als Umlenkrollen für die Bramsegel. Um das zu simulieren, länge ein Stück 1,5 x 1,5 mm Walnuss (oder 1,5 mm Sperrholzabfall) ab und feile mit einer Nadelfeile eine halbrunde Kerbe in eine der Oberflächen ein. Dann wird die Oberfläche wie dargestellt auf die Hinterseite der Rah geklebt.
Die Blöcke werden entsprechend Planblatt 9 angebracht. Alle Blöcke auf den Rahen befinden sich entweder direkt auf oder unter den Rahen, d.h., alle sind „hinter“ den Bäumen.
Die kleineren Blöcke (3 und 5 mm, B und D) werden mit schwarzen 0,25 mm Garn und die größeren (7 mm, G) mit schwarzen 0,5 mm Garn befestigt.
Die Springpeerde (Springpferde) bestehen aus 0,75 mm Messingdraht (745). Um die Fußpeerde aufzunehmen werden am Ende kleine Ösen gebogen.
Abbildung 524: Großmarsrah mit Blöcke - Planblatt 9
Abbildung 525: Großmarsrah mit Pferde (11.05.2025)
Abbildung 526: Großmarsrah mit flämische Pferde (11.05.2025)